Enhanced media maintenance
Recommended equipment
- Suitable Safety Equipment and Personal Protective Equipment (PPE) for the task and the working environment.
- Suitable lifting tool to lift/remove the grate or lid.
- Replacement enhanced media pack (call 01275 878371 to reorder)
- Heavy duty sealable bag(s)
Enhanced media cleanout guidance procedures
1) Set up and establish a safe working area with all necessary and appropriate warning signage to comply with legislation and any site-specific requirements. Protect with suitable safety equipment the Access Cover(s) of the Downstream Defender® Select, all activity to comply with task and location Health and Safety requirements.
2) Remove the Access Cover(s) to the Downstream Defender® Select.
3) If your Downstream Defender® Select is equipped with Hydro-Logic® Smart Maintenance, please carefully remove this and set it to one side.
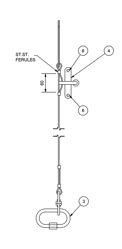
4) Your Downstream Defender® Select has an enhanced hydrocarbon (oil) capability, provided by the media floating on the surface. Referencing Drawings 1 and 2 below.
- Place your hand on the yellow handle marked “Enhanced media” (2) and grip.
- Using your other hand unscrew the lock carabiner (3) to fully release handle from the chamber.
- Pull the handle to assist in raising the enhanced media via the tether until the first section of the attached media reaches ground level. Lay the raised section on the ground, if more than one length of media is in the system, continue to pull the enhanced media one section at a time until all the media has been retrieved to ground level.
- Once all the media has been raised to ground level, unhook the enhanced media via the quick link from the tether and place the spent media into a heavy-duty sealed bag or container. Dispose of the contaminated media following the correct guidelines and legislation as set out in the Government website: https://www.gov.uk/dispose-hazardous-waste.
Drawing 1

Drawing 2

5) To replace the system with a new enhanced media pack. Attach the pack together as illustrated below for single or multiple systems.
For single enhanced media system, connect as shown in Figure 1, and attach tether to one end and place into chamber.
Figure 1

For multiple enhanced media systems, connect as shown in Figure 2, attach tether to one end and place into the chamber.
Figure 2

The table below shows the number of enhanced media sections that are required for each unit.

6) Secure the lock carabiner back into position on the chamber wall by screwing until tight. Check to ensure that the handle is secure and will not drop down into the chamber.
7) If you have the Hydro-Logic® Smart Maintenance equipment, carefully place the equipment and tray back into the chamber, ensuring that the sediment sensor cable is clear of the media.
8) Securely replace the Access Cover(s) immediately on completion of the service.
9) Fully reinstate the area ensuring that it is clean and free from any litter or contamination and that all tools, equipment, safety protection and warning signage is removed. (A photo of the full working area is recommended to evidence satisfactory completion of activity).
10) Notify us of any irregularities noted during inspection by calling us on +44 (0)1275 878371 or emailing us at sudsservices@hydro-int.com